
SW801
低床式膠膜裹包機
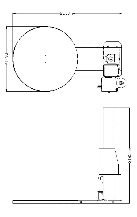
低床式膠膜機
• 機台基本顏色配置為灰紅
• 機台顏色及材質(不鏽鋼)可依客戶需求而訂製
半自動
標準型
拉伸倍率:220%
電力需求:110 Volts 60 Hz, 20 Amps
(可依客戶需求訂製)
生產速度:35-45板 /小時
承載重量:4000 lbs
SW801膠膜機是標準型膠膜裏包機,可裏包您的棧板包裝物達4,000lbs,其膠膜座精心為客戶創造,可預拉膠膜達220%的長度。SW系列膠膜裏包機可選配整合式秤重裝置、加長纏繞高度和更大尺寸的轉盤。所有 BestPack膠膜裏包機均採用重型框架,並設有堆高機通道,方便搬運。
轉盤架特性:
•直徑58″,3/8″雷絲切割鋼板
•承載重量:4000 lbs
•ANSI# 60 鏈條傳動附自動鬆緊功能
•電子啟動/停止
•1-12 RPM 多段變速
•1/2 HP, DC 控制傳動馬達
•低床
•歸位近接定位電眼
•免維修,免潤滑傳動系統
•封雙軸承(免潤滑),12飛輪傳動
•12點重型石碳酸線雙軸承支持系統
•建有堆高機用的凹槽,方便堆高機作業
•立柱裝有鉸鏈,可放倒,方便裝運
膠膜座特性:
•10″ x 20″ 膠膜容量
•1/4 HP, DC 控制傳動馬達
•離合片控制膠膜托架
•可調式棧板高度電眼
•膠膜穩定滾輪
•石碳酸膠膜座導膜裝置
•齒輪雙預拉滾輪,可達到220%的預拉
•膠膜座上裝有安全停止開關
• 如果斷膜,搖臂裝置自動重新裏包棧板角部位的膠膜
• 最大裝載重量:5,000lbs
控制特性:
•On/Off 附電源指示燈
•歸位按鈕
•送膜速度可調整,和轉盤的速度做完美的搭配以達到適度的裏膜鬆緊度
•膠膜座暫停開關
•轉盤轉速控制
•膠膜座速度控制
•手動膠膜座上升/下降開關
•轉盤寸動開關
•單層或雙層裏包開關
•Omron PLC含連接埠
•如果斷膜,有一自動重新裏膠膜的特點
•馬達啟動裝置,附過載復歸和電力過載保護裝置
•上下裏包分開重複計數 801 (0-9)
•膠膜座停止開關 (上升和下降)
生產速度:35-45板 /小時
裝載物尺寸:53″ x53″ x 82″
電力:110V, 60Hz, 20 Amps
機械重量:型號 801-1980lbs.
• 荷重元
• 斜拖板
• 加壓機構

